Published:2009/7/22 22:23:00 Author:Jessie | From:SeekIC

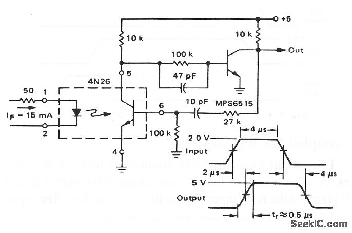
This circuit shows a 4N26 combined with a transistor to form a simple pulse amplifier that uses positive feedback to the 4N26 base. The feedback decreases pulse rise time from about 2 to 0.5 μs.
Reprinted Url Of This Article:
http://www.seekic.com/circuit_diagram/Amplifier_Circuit/Optocoupler_that_is_used_as_a_pulse_amplifier.html
Print this Page | Comments | Reading(3)
Code: