Published:2009/7/21 22:14:00 Author:Jessie | From:SeekIC

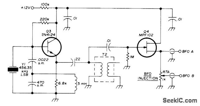
Bipolar crystal oscillator is coupled to FET source-follower by miniature 455-kHz IF transformer T2. RF output is adjusted with R7A so BFO injection voltage can be set for maximum carrier suppression. BFO is 456.35 kHz for lower sideband operation or 453.75 kHz for upper sideband in SSB transceiver.-W. J. Weiser, Integrated Circuit SSB Transceiver for 80 Meters, Ham Radio, April 1976, p 48-52.
Reprinted Url Of This Article:
http://www.seekic.com/circuit_diagram/Amplifier_Circuit/Other_circuit/CRYSTAL_BFO.html
Print this Page | Comments | Reading(3)
Code: