Published:2009/6/19 1:43:00 Author:May | From:SeekIC

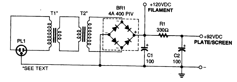
The power supply for the amplifier uses two low-voltage transformers connected back-to-back The full-wave bridge rectifier, BR1 provides dc for the filaments, plates, and screens.
Reprinted Url Of This Article:
http://www.seekic.com/circuit_diagram/Amplifier_Circuit/POWER_SUPPLY_FOR_VACUUM_TUBE_AMPLIFIER.html
Print this Page | Comments | Reading(3)
Code: