Published:2009/7/1 2:37:00 Author:May | From:SeekIC

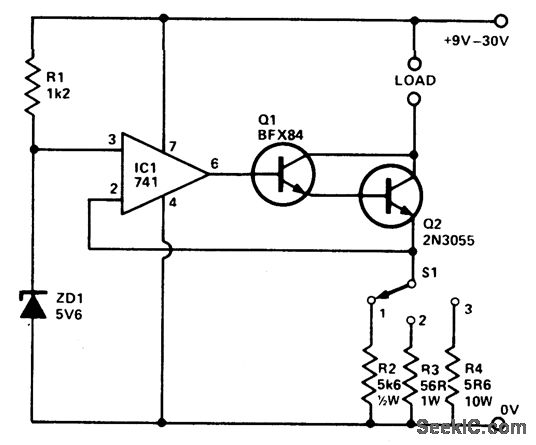
The circuit will provide 3 preset currents which will remain constant despite variations of ambient temperature or line voltage. ZD1 prifuces a temperature stable reference voltage which is applied to the noninverting input of IC1. 100% feedback is applied from the output to the inverting input holding the voltage at Q2s emitter at the same potential as the noninverting input. The current flowing into the load therefore is defined solely by the resistor selected by S1. Whic the values employed here, apreset current of 10 mA, 100 mA or 1 A van be selected. Q2 should be mounted on a suitabel heatsink.
Reprinted Url Of This Article:
http://www.seekic.com/circuit_diagram/Amplifier_Circuit/PRECISION_REFERENCE_LOW_NOISSE_BUFFERED_REFERENCE.html
Print this Page | Comments | Reading(3)
Code: