Published:2011/7/1 1:05:00 Author:TaoXi | Keyword: Practical, adjustable ratio, differential amplifier | From:SeekIC

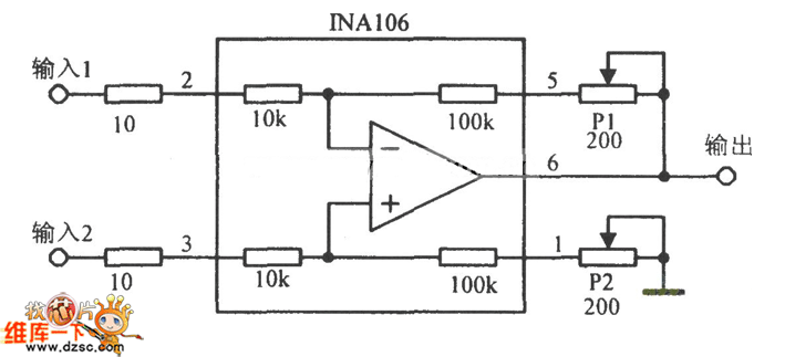
The Practical adjustable ratio differential amplifier circuit is as shown in the figure:
Reprinted Url Of This Article:
http://www.seekic.com/circuit_diagram/Amplifier_Circuit/Practical_adjustable_ratio_differential_amplifier_circuit.html
Print this Page | Comments | Reading(3)
Code: