Published:2009/7/23 23:16:00 Author:Jessie | From:SeekIC

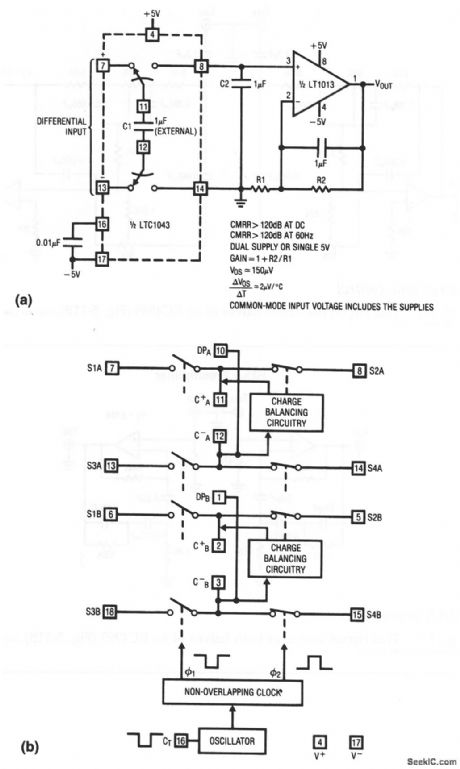
This circuit uses an LTC1043 switched-capacitor IC (Fig. 1-4B) and an LT1013 op amp to form a simple, precise instrumentation amplifier. The 0.01-μF capacitor at pin 16 sets the switching frequency at 500 Hz.
Reprinted Url Of This Article:
http://www.seekic.com/circuit_diagram/Amplifier_Circuit/Precision_instrumentation_amplifier.html
Print this Page | Comments | Reading(3)
Code: