Published:2009/6/18 22:13:00 Author:May | From:SeekIC



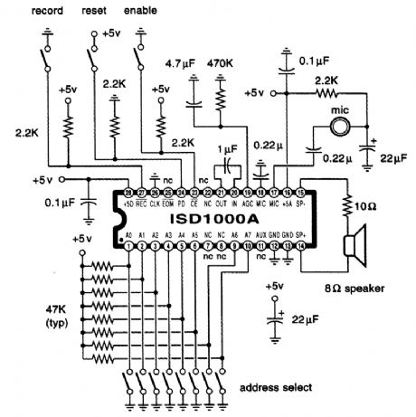
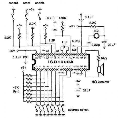
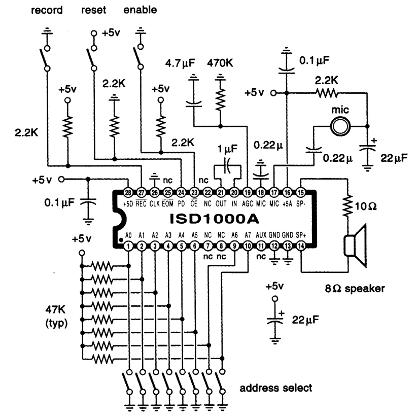
The gain of this amplifier is-Rf/R1 where Rf=effective value of resistance selected by the digital R1 inputs.IC1 op ampIC2 CD4066 quad bilateral switchR1 1-kΩ,1/4-W 5% resistorR2 10-kΩ,1/4-W 5% resistorR3 4.7-kΩ,1/4-W 5% resistorR4 2.2-kΩ,1/4-W 5% resistorR5 1-kΩ,1/4-W 5% resistorR6 2.2-kΩ,1/4-W 5% resistor
Reprinted Url Of This Article:
http://www.seekic.com/circuit_diagram/Amplifier_Circuit/Programmable_gain_amplifier.html
Print this Page | Comments | Reading(3)
Code: