Published:2009/7/17 4:09:00 Author:Jessie | From:SeekIC


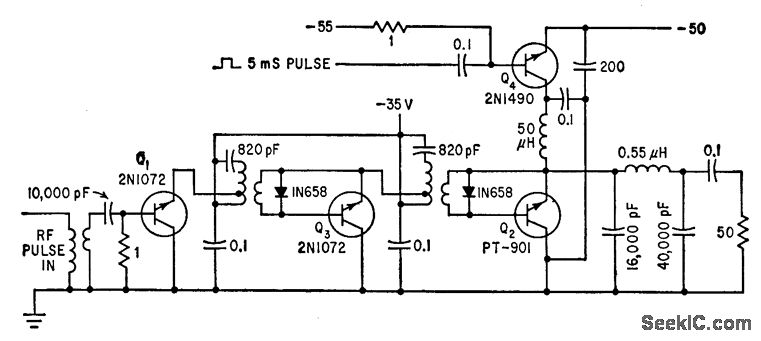
Handles pulses in range of 100 to 500 microsec at 2.2 Mc. Class B final stage Q2 delivers 105 w to piloading network serving as 5l-ohm load.-S. Horowitz and L. Humphrey, Satellite Sounder and Telemeter Chart Ionosphere Electron Density, Electronics, 34:25, p 50-53.
Reprinted Url Of This Article:
http://www.seekic.com/circuit_diagram/Amplifier_Circuit/RADAR_POWER_AMPLIFIER.html
Print this Page | Comments | Reading(3)
Code: