Published:2009/7/6 2:24:00 Author:May | From:SeekIC

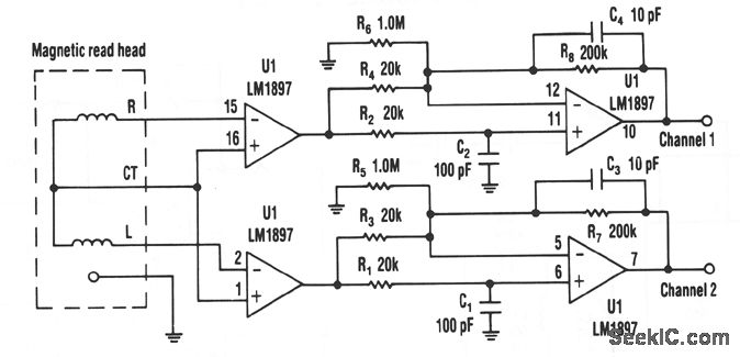
Choosing dc rather than ac coupling can reduce much of the noise associated with preamplifiers for a magnetic reading head, particularly in the low frequencies. The LM1897 eliminates the need for the capacitor that usually ac couples the read head to the preamplifier input. The read head itself has a small resistance, typically 50Ω, and so is less prone to noise pickup. Moreover, the LM1897 has a low-bias current; merely 2 μA as a worst case. Such a low-bias current flowing through the head's low resistance generates very little noise. Accordingly, even with a gain of 25, the first stage of the preamplifier circuit produces little noise.
Reprinted Url Of This Article:
http://www.seekic.com/circuit_diagram/Amplifier_Circuit/READ_HEAD_PREAMPLIFIER.html
Print this Page | Comments | Reading(3)
Code: