Published:2009/7/24 1:58:00 Author:Jessie | From:SeekIC

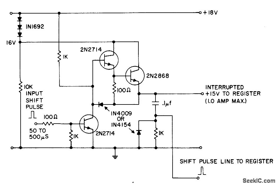
Shift pulse input saturates 2N2714, depriving Darlington combination of base drive. Resulting negative pulse generated on 15-V line is differentiated lo produce positive trigger pulse at its trailing edge.- Transistor Manual, Seventh Edition, General Electric Co., 1964, p 432.
Reprinted Url Of This Article:
http://www.seekic.com/circuit_diagram/Amplifier_Circuit/SHIFT_REGISTER_DRIVER.html
Print this Page | Comments | Reading(3)
Code: