Published:2009/7/16 22:43:00 Author:Jessie | From:SeekIC

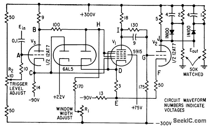
Width of rectangular output pulse is proportional to time spent by signal between specified voltage levels. Used to determine probability amplitude density functions,-T. A. Bickart, Amplitude Slicer for Signal Analysis Electronics 32:9, p 64-65.
Reprinted Url Of This Article:
http://www.seekic.com/circuit_diagram/Amplifier_Circuit/SIGNAL_AMPLITUDE_ANALYZER.html
Print this Page | Comments | Reading(3)
Code: