Published:2009/6/22 22:47:00 Author:Jessie | From:SeekIC

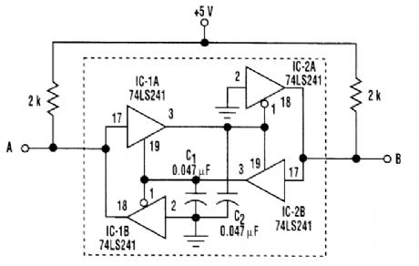
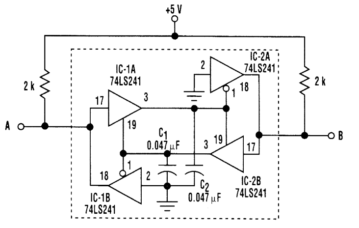
This circuit shown in the figure uses two 74LS241s. When both input/output lines are high, IC-1A and IC-2B turn on, and C1 and CZ are charged to high voltage. Meanwhile, IC-1B and IC-2A are off to prevent a logic 1 latch.
Reprinted Url Of This Article:
http://www.seekic.com/circuit_diagram/Amplifier_Circuit/SIMPLE_BIDIRECTIONAL_BUFFER_DESIGN.html
Print this Page | Comments | Reading(3)
Code: