Published:2009/6/15 22:26:00 Author:May | From:SeekIC

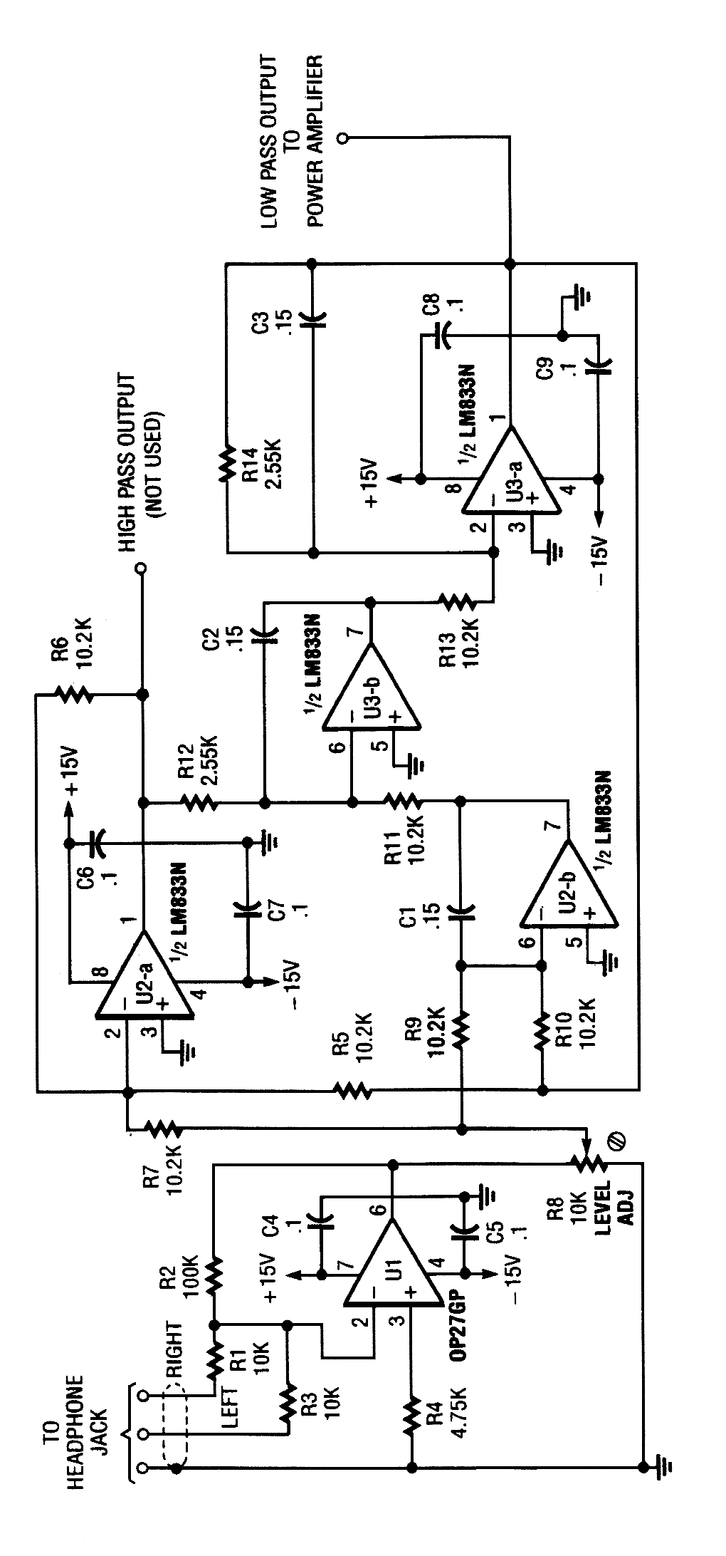
The electronic-crossover circuit contains a summing ampplifier that combines the left that combines the left and right channels from a stereo's headphone jack. Originally used in a subwoofer system, the above circuit might be useful in similar audio applications.
Reprinted Url Of This Article:
http://www.seekic.com/circuit_diagram/Amplifier_Circuit/SUBWOOFER_CROSSOVER_AMPLIFIER.html
Print this Page | Comments | Reading(3)
Code: