Published:2011/3/29 3:55:00 Author:Rebekka | Keyword: Semiconductor laser | From:SeekIC

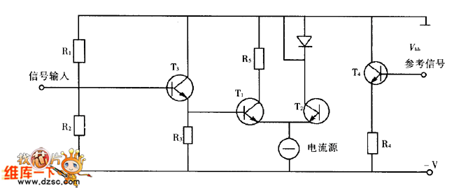
Semiconductor laser driver circuit diagram is shown as below.
Reprinted Url Of This Article:
http://www.seekic.com/circuit_diagram/Amplifier_Circuit/Semiconductor_laser_driver_circuit_diagram.html
Print this Page | Comments | Reading(3)
Code: