Published:2009/7/24 5:05:00 Author:Jessie | From:SeekIC

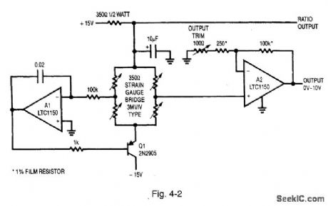
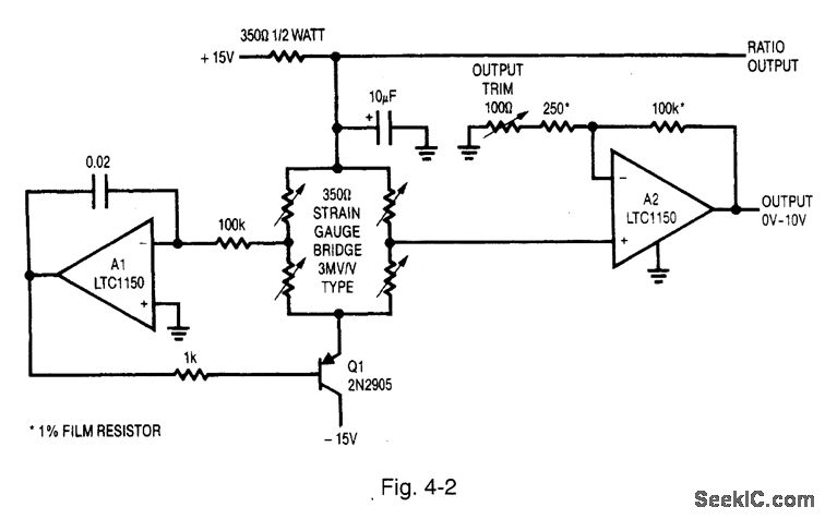
Figure 4-2 shows a way to reduce errors because of the bridge common-mode output voltage. A1 biases Q1 to servo the bridge left midpoint to zero under all operating conditions. The 350-Ω resistor ensures that A1 will find a stable operating point with 10 V of drive delivered to the bridge. This allows A2 to take a single-ended measurement, eliminating all common-mode voltage errors. LINEAR TECHNOLOGY, APPLICATION NOTE 43, P. 5.
Reprinted Url Of This Article:
http://www.seekic.com/circuit_diagram/Amplifier_Circuit/Servo_controlling_bridge_drive.html
Print this Page | Comments | Reading(3)
Code: