Published:2009/7/24 5:09:00 Author:Jessie | From:SeekIC

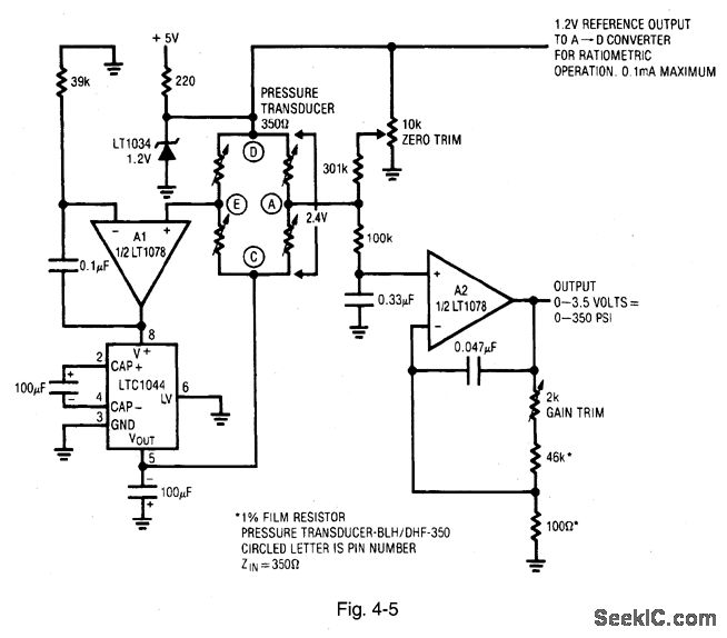
Figure 4-5 shows a circuit that is similar to that of Fig. 4-4, except that a single power supply is required. A2 biases the LTC1044 positive-to-negative converter. The LTC1044 output pulls the bridge output negative, causing the Al input to balance at 0 V. This local loop permits a single-ended amplifier (A2) to extract the bridge output signal. The 100-k℃/033-μF RC filter minimizes noise. The A2 gain is set to provide the desired output scale factor. Because bridge drive is taken from the LT1034 reference, the A2 output is not affected by supply shifts. The LT1034 output is available for ratio operation. Although the supply is 5 V, the transducer sees only 2.4 V of drive. This reduced drive results in lower transducer outputs for a given measurement value, effectively magnifying amplifier offset-drift terms. The limit on the available bridge drive is set by the CMOS LTC1044 output impedance. LINEAR TECHNOLOGY, APPLICATION NOTE 43, P. 7.
Reprinted Url Of This Article:
http://www.seekic.com/circuit_diagram/Amplifier_Circuit/Single_supply_bridge_amplifier_with_common_mode_suppression.html
Print this Page | Comments | Reading(3)
Code: