Published:2009/7/24 22:07:00 Author:Jessie | From:SeekIC

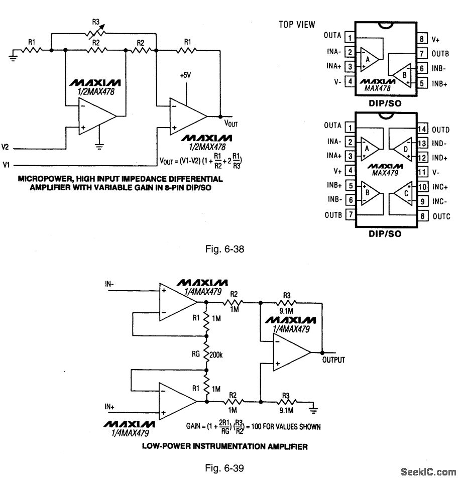
Figure 6-38 shows a MAX478 connected as a differential amplifier with variable gain. Figure 6-39 shows the MAX479 connected as a differential instrumentation amplifier. Both circuits can operate from a single supply, either 3 V or 5 V.Maximum Supply current is 17μA per op amp, the maximum offset voltage is 70 μV, maximum offset-voltage drift is 2.2 μV/℃ (0.5 μV/℃ typical) and maximum input-offset current is 250 pA. MAXIM NEW RELEASES DATA BOOK, 1994, P. 3-59, 3-69.
Reprinted Url Of This Article:
http://www.seekic.com/circuit_diagram/Amplifier_Circuit/Single_supply_differential_amplifiers.html
Print this Page | Comments | Reading(3)
Code: