Published:2009/7/21 2:59:00 Author:Jessie | From:SeekIC

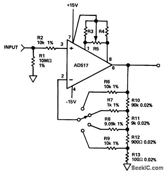
Stable instrument amplifier for lab equipment and panel meters. The amplifier is noninverting and offers selectable gains from 1 to 1000 in decade steps. Input impedance is 10M (courtesy Analog Devices, Inc.).
Reprinted Url Of This Article:
http://www.seekic.com/circuit_diagram/Amplifier_Circuit/Stable_instrument_amplifier_for_lab_equipment_and_panel_meters.html
Print this Page | Comments | Reading(3)
Code: