Published:2009/7/10 22:14:00 Author:May | From:SeekIC

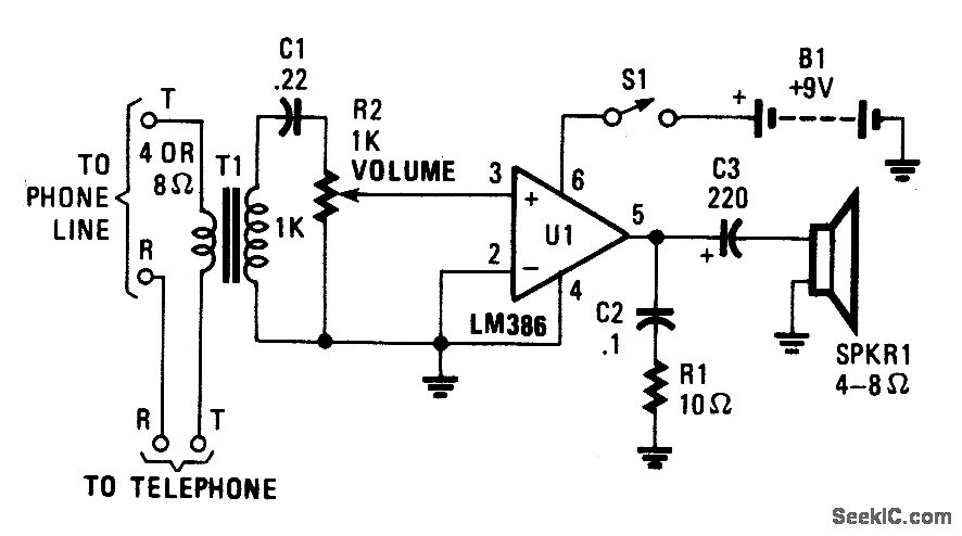
This simple telephone amplifier (which can be switched off for privacy) allows everyone in the room to listen to your telephone conversations.
Reprinted Url Of This Article:
http://www.seekic.com/circuit_diagram/Amplifier_Circuit/TELEPHONE_SPEAKER_AMPLIFIER.html
Print this Page | Comments | Reading(3)
Code: