Published:2009/6/29 1:39:00 Author:May | From:SeekIC

Reprinted Url Of This Article:
http://www.seekic.com/circuit_diagram/Amplifier_Circuit/THERMOCOUPLE_AMPLIFIER.html
Print this Page | Comments | Reading(3)
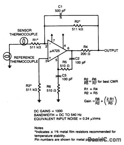
Code: