Published:2009/7/16 3:39:00 Author:Jessie | From:SeekIC

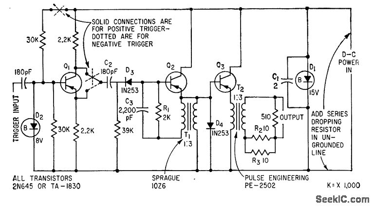
Synchronizing trigger signal drives phase splitter Q1, which in turn feeds blocking oscillator Q2. Output from emitter-follower Q3 is 1-microsec-wide pulse into 90-ohm load. Depending on connections for Q1, either positive or negative input pulse greater than 5 v will trigger generator. Maximum prr is 40 kc.-R. E. Daniels and C. Swoboda, Pulse Generator for Synchronizing Events, Electronics, 33:24, p 63.
Reprinted Url Of This Article:
http://www.seekic.com/circuit_diagram/Amplifier_Circuit/TRIGGERED_SQUARE_WAVE_GENERATOR.html
Print this Page | Comments | Reading(3)
Code: