Published:2011/6/19 22:17:00 Author:qqtang | Keyword: timer, application circuit | From:SeekIC


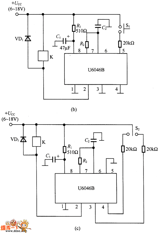
In figure 5-22 is the U6046B timer application circuit. U6046B is the long-time limiting timer integrated chip, which is in 8-pin DIP package, the timing span is from 3.7s to 20h, the power supply voltage is from 6~18v. In figure 5-22 (a) is the single stable timing circuit composed of U6046B, the working voltage +Ucc is added on 8-pin after being limited by R1 and filtered by C1, then there generates a 5.2V stable ouput voltage on 7-pin of U6046B and the voltage is the input of 3-pin, so that U6046B is started. The sucker current on 2-pin makes the relay K close, the timing td is started.
Reprinted Url Of This Article:
http://www.seekic.com/circuit_diagram/Amplifier_Circuit/The_U6046B_timer_application_circuit.html
Print this Page | Comments | Reading(3)
Code: