Published:2011/6/23 1:31:00 Author:qqtang | Keyword: timing circuit | From:SeekIC

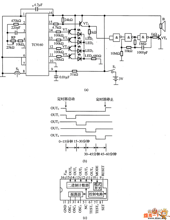
In the figure is the timing circuit composed of TC9160. Generally, a timing circuit discharges with capacitors, as the charge/discharge is not in linearity, so the time is not the evenly spaced scale. Besides, if we want to acquire a timing over 10 min, we need capacitors of more than 1000μF and resistors of several hundred MΩ. Though the NE555 timer circuit is simple, but it needs capacitors of little leakage and large insulated resistance.
TC9160 is an integrated circuit contains frequency splitting counters, its working voltage is low, which is 1.8v. Its consuming current is low.
Reprinted Url Of This Article:
http://www.seekic.com/circuit_diagram/Amplifier_Circuit/The_timing_circuit_composed_of_TC9160.html
Print this Page | Comments | Reading(3)
Code: