Published:2009/7/23 22:43:00 Author:Jessie | From:SeekIC

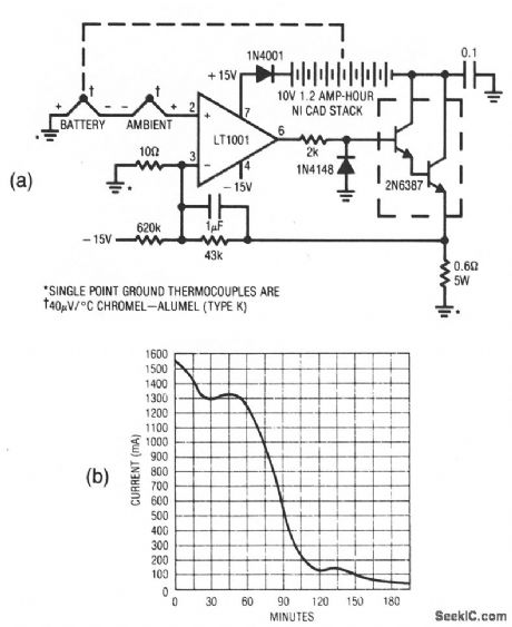
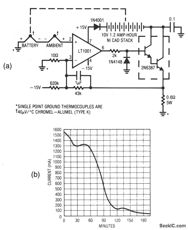
This circuituses an LT1001 and a2N3687 Darlington to form a simple charger for NiCad batteries. The batteries can be charged at a high rate without danger because the cell temperature is measured, and the charging rate is adjusted accordingly. Notice that two thermocouples are used. The battery thermocouple is mounted on one of the cells in the pack, and the ambient thermocouple is exposed to ambient temperature (mounted on a thermal mass that approximates that of the battery pack). The thermocouple voltages cancel and the positive input of the LT1001 is at zero. the temperature difference between the two thermocouples determines the input. As battery temperature rises, this small negative voltage (1°C difference between thermocouples equals 40 μV) becomes larger. The LT1001, operating at a gain of 4300, gradually reduces current through the battery to maintain a balance at the LT1001 input. The effect of this action is shown in Fig. 10-60B. The battery charges at a high rate until heating occurs and the circuit then tapers the charge. With the values shown, the battery-surface temperature rise (above ambient) is limited to the very safe level of 5°C.
Reprinted Url Of This Article:
http://www.seekic.com/circuit_diagram/Amplifier_Circuit/Thermally_controlled_NiCad_battery_charger.html
Print this Page | Comments | Reading(3)
Code: