Published:2009/6/25 21:16:00 Author:Jessie | From:SeekIC

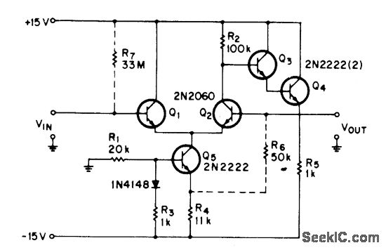
Mea-sured galnis 0.0997 V/V with an error of ±0.1% over ±1.5V swihg Circuit has infinite inputimpedance and zero bias current,Addition of dashed components to simple voltage-follower design gives near-perfect performance.-C. Andren, The Ideal Voltage Follower, EEE Magazine, Jan. 1971, p 63-64.
Reprinted Url Of This Article:
http://www.seekic.com/circuit_diagram/Amplifier_Circuit/UNITY_GAIN_VOLTAGE_FOLLOWER.html
Print this Page | Comments | Reading(3)
Code: