Published:2009/7/14 22:26:00 Author:Jessie | From:SeekIC

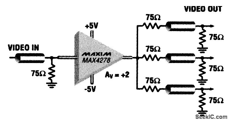
This video distribution amplifier uses a single MAX4278 with a gain of 2 (6 dB) so that three 75-Ω loads can be driven from one 75-Ω source. Each driven load has a source impedance of 75Ω. Gain is flat to 0.1 dB up to 150 MHz.
Reprinted Url Of This Article:
http://www.seekic.com/circuit_diagram/Amplifier_Circuit/VIDEO_DISTRIBUTION_AMPLIFIER.html
Print this Page | Comments | Reading(3)
Code: