Published:2009/6/18 1:43:00 Author:May | From:SeekIC

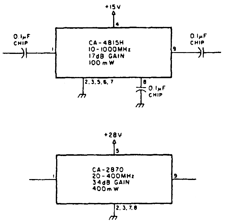
Using TRW P/N CA-815H, a 17-dB gain am-plifier that delivers 100 mW over 10 to 1000 MHz can be constructed. The CA-2870 will yield 0.4 W with 34-dB gain from 20 to 400 MHz.
Reprinted Url Of This Article:
http://www.seekic.com/circuit_diagram/Amplifier_Circuit/WIDEBAND_POWER_AMPLIFIER.html
Print this Page | Comments | Reading(3)
Code: