Published:2009/7/20 23:45:00 Author:Jessie | From:SeekIC

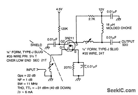
36 MHz RFamplifier using a 3N211 dual-gate MOSFET(courtesy Texas Instruments Incorporated).
Reprinted Url Of This Article:
http://www.seekic.com/circuit_diagram/Audio_Circuit/36_MHz_RFamplifier_using_a_3N211_dual_gate_MOSFET.html
Print this Page | Comments | Reading(3)
Code: