Published:2011/5/12 3:06:00 Author:Sue | Keyword: Close-door Reminder | From:SeekIC

The close-door reminder can send out the sound Please close the door. when one goes in or out of the room, and the sound will stop when the door is closed. It can also be used in places like confidential room, reference room, office and so on.
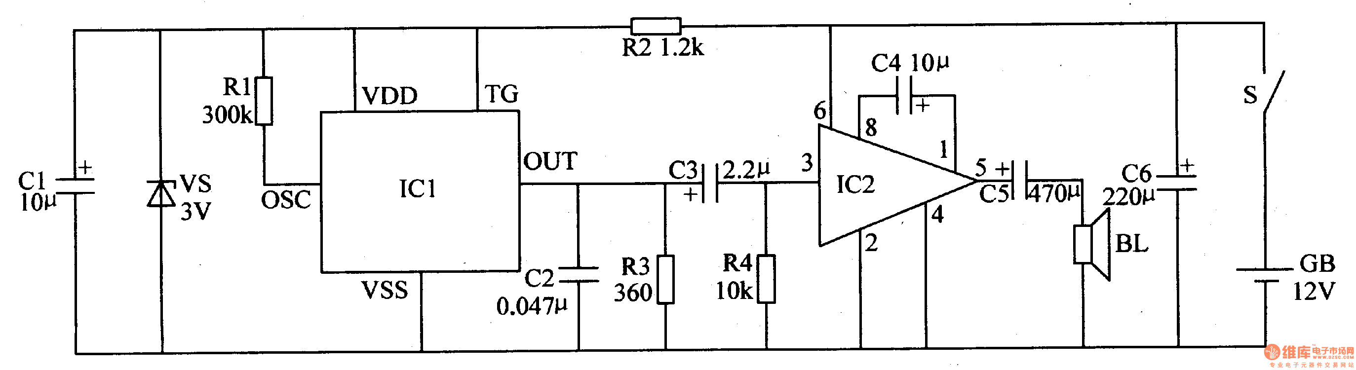
Working principle:
As seen in the figure 6-223, the reminder circuit is composed of power circuit, sound generator and power amplifying circuit.
The power circuit consists of battery GB, door contact switch S, current-limiting resistor R2, zener diode vs and filter capacitor C1,C6.
The sound generator consists of speech integrated circuit IC1, resistor R1,R3 and capacitor C2.
The power amplifying circuit consists of audio power amplifying integrated circuit IC2, capacitor C3-C5, resistor R4 and loudspeaker BL.
When the door is closed, S is disconnected, so the whole circuit isn't working. When the door is opened, S is connected, IC1 receives a voltage of +3V and begins to work. Its OUT terminal outputs sound signal, which will promote BL to make out the sound of Please close the door after being amplified by IC2.
When the door is closed, S is disconnected, and the whole circuit stops working.
Choices of components: R1,R2,R4:1/4W or 1/8W carbon film resistor. R2:1/2W carbon film resistor.
C1,C3-C6:aluminium electrolytic capacitor with a durable pressure of 16V. C2:monolithic ceramic capacitor or dacron capacitor.
VS:1/2W, 3V silicon voltage stabilizing diode.
IC1: Sound integrated circuit with saved signal of Please close the door. , such as HFC5203A. IC2:LM386N audio power amplifying integrated circuit.
BL: 0.5-1W, 8Ω electronic loudspeaker.
S:stroke switch.
Reprinted Url Of This Article:
http://www.seekic.com/circuit_diagram/Audio_Circuit/Close_door_Reminder.html
Print this Page | Comments | Reading(3)
Code: