Published:2009/7/22 4:07:00 Author:Jessie | From:SeekIC


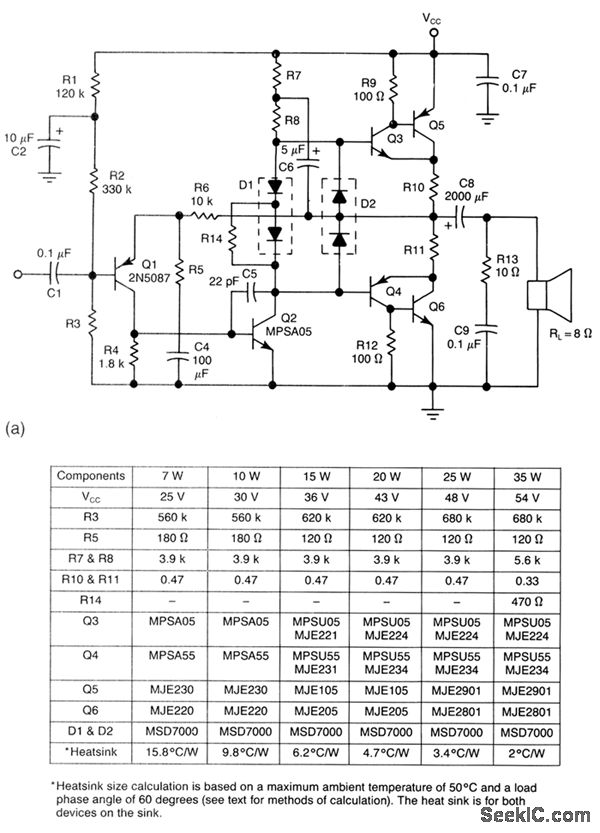
This circuit provides a 7- to 35-W output, depending on power source and component values (as shown), with overload protection. Figures 1-18B and 1-18C show the PC-board layout and performance characteristics, respectively.
Reprinted Url Of This Article:
http://www.seekic.com/circuit_diagram/Audio_Circuit/Discrete_component_audio_amplifier_7_to_35_W.html
Print this Page | Comments | Reading(3)
Code: