Published:2009/7/24 4:53:00 Author:Jessie | From:SeekIC

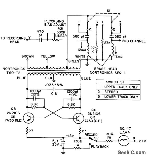
Provides ample power for 60 db erasure of saturated tape, using 10 ma of 80-kc erase signal. Total power output is 1.5 W at efficiency of 60%. Bias current is same frequency.- Transistor Manual, Seventh Edition, General Electric Co., 1964, p 278.
Reprinted Url Of This Article:
http://www.seekic.com/circuit_diagram/Audio_Circuit/ERASE_AND_BIAS_OSCILLATOR.html
Print this Page | Comments | Reading(3)
Code: