Published:2009/7/24 4:36:00 Author:Jessie | From:SeekIC

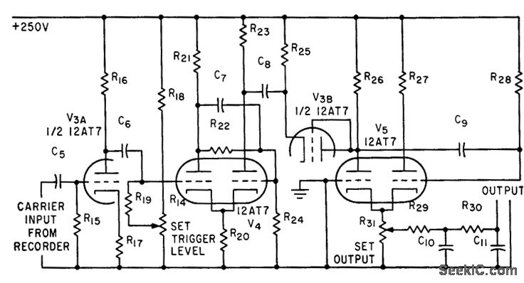
Removes low-frequency frequency-modulated nerve-potential signal from 7.5-kc carrier recorded on magnetic tope. Amplifier V3a feeds squarer V4 that is connected as Schmitt trigger to give square-wave output for differentiation by C8-R25. Negative going edge , of resulting square wave triggers monostable mvbr V5 which serves as demodulator.-K. D. Broadfoot, F-M Magnetic Tape System Records Low-Frequency Nerve-Fiber Potentials, Electronics, 34;28, p 66-67.
Reprinted Url Of This Article:
http://www.seekic.com/circuit_diagram/Audio_Circuit/F_M_DEMODULATOR_FOR_TAPE_RECORDER.html
Print this Page | Comments | Reading(3)
Code: