Published:2009/7/20 1:12:00 Author:Jessie | From:SeekIC

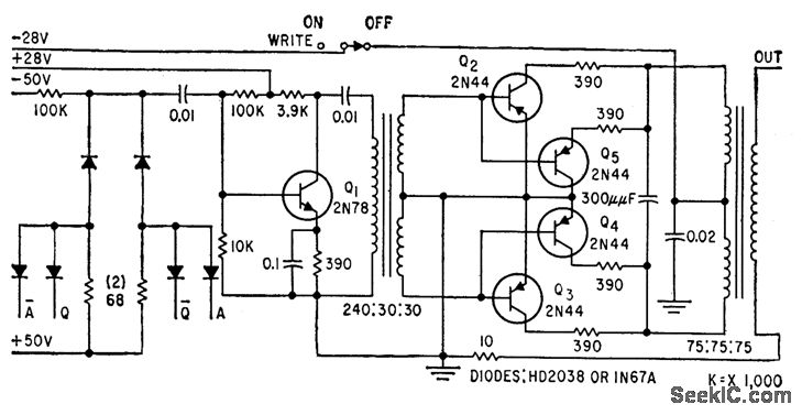
Power amplifier is followed by impedance-changing device that converts voltage waveform at output of flip-flop into corresponding cur rent waveform for low-impedance recording head of magnetic memory drum, for Manchester recording with 220 ma peak-to-peak.-A. J. Strassman and R. E. Keeter, Clock Track Recorder For Memory Drum, Electronics, 32:41, p 74-76.
Reprinted Url Of This Article:
http://www.seekic.com/circuit_diagram/Audio_Circuit/MAGNETIC_DRUM_WRITE_AMPLIFIER.html
Print this Page | Comments | Reading(3)
Code: