Published:2009/7/22 20:34:00 Author:Jessie | From:SeekIC

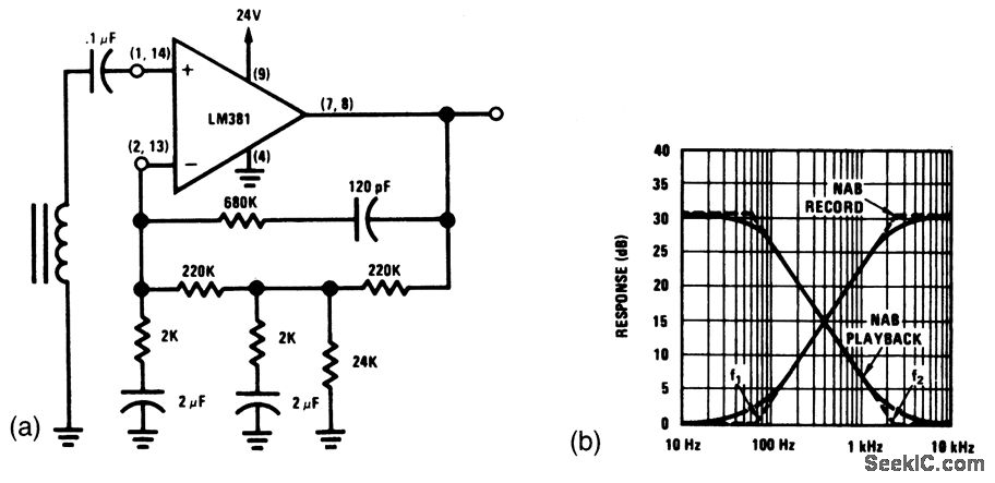
This circuit requires only 0.1 second for turn-on, Compare to Fig. 1-29.When recording, the frequency response is the complement of the NAB playback equalization, making the composite record and playback response flat (Fig.1 -30B).
Reprinted Url Of This Article:
http://www.seekic.com/circuit_diagram/Audio_Circuit/NAB_tape_preamp_with_fast_turn_on.html
Print this Page | Comments | Reading(3)
Code: