Published:2009/7/17 3:24:00 Author:Jessie | From:SeekIC

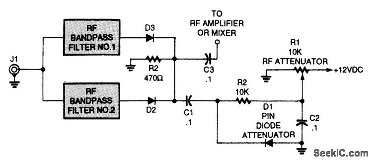
This PIN-diode front-end RF attenuator circuit contains a simple shunt circuit. The dc voltage from the potentiometer sets the attenuation level. The PIN diodes can be MV3404 or similar types.
Reprinted Url Of This Article:
http://www.seekic.com/circuit_diagram/Audio_Circuit/RECEIVER_FRONT_END_RF_ATTENUATOR.html
Print this Page | Comments | Reading(3)
Code: