Published:2009/7/24 3:19:00 Author:Jessie | From:SeekIC

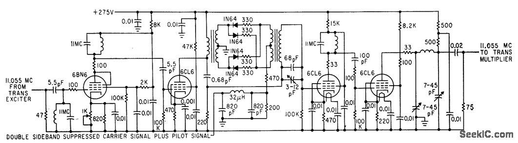
Circuit serves for frequency-modulating main terrier signal by stereophonic subcarrier in four-diode ring modulator to which 19-kc pilot subcarrier is also applied. Resultant signal is phase-modulated at same 11.055-Mc carrier frequency as input signal.-Modifying and F-M Transmitter for Compatible Stereo Multiplex, Electronics, 34:28, p 60-62.
Reprinted Url Of This Article:
http://www.seekic.com/circuit_diagram/Audio_Circuit/STEREO_MULTIPLEX_PHASE_MODULATOR.html
Print this Page | Comments | Reading(3)
Code: