Published:2009/7/5 22:13:00 Author:May | From:SeekIC

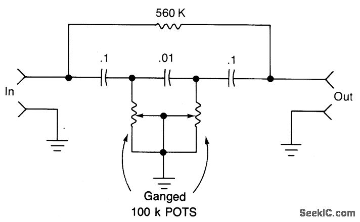
This filter covers the upper part of the audio passband and can be used to eliminate unwanted high frequencies from audio signals.
Reprinted Url Of This Article:
http://www.seekic.com/circuit_diagram/Audio_Circuit/TUNABLE_AUDIO_FILTER.html
Print this Page | Comments | Reading(3)
Code: