Published:2009/7/2 4:19:00 Author:May | From:SeekIC

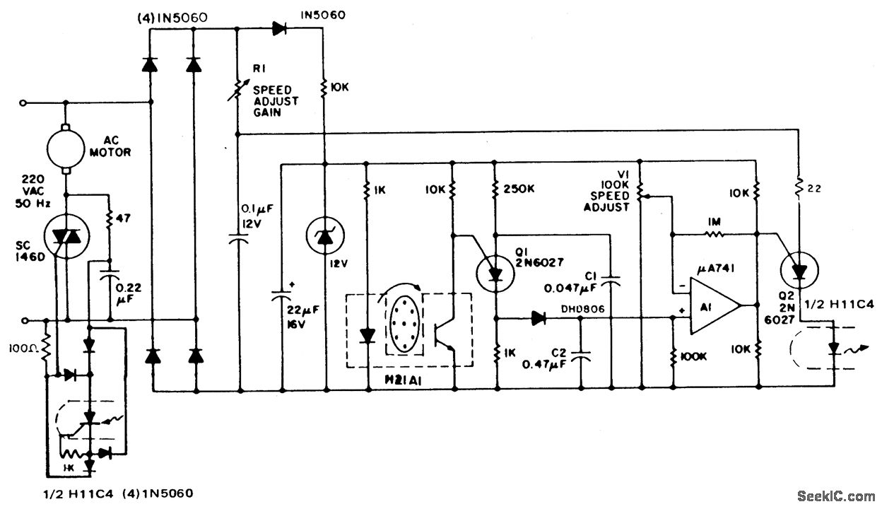
The circuit illustrates feedback speed regulation of a standard ac induction motor, a function difficult to accomplish other than with a costly, generator type, precision tachometer. When the apertured disc attached to the motor shaft allows the light beam to cross the interrupter module, the programmable unijunction transistor, Q1, discharges capacitor, C1, into the much larger storage capacitor, C2. The voltage on C2 is a direct function of the rotational speed of the motor. Subsequently, this speed-related potential is compared against an adjustable reference voltage, V1, through the monolithic operational amplifier, A1, whose output, in turn, establishes a dc control input to the second P.U.T.(Q2). This latter device is synchronized to the ac supply frequency and furnishes trigger pulses in the conventional manner to the triac at a phase angle determined by the speed control, R1, and by the actual speed of the motor.
Reprinted Url Of This Article:
http://www.seekic.com/circuit_diagram/Automotive_Circuit/AC_MOTOR_CONTROL.html
Print this Page | Comments | Reading(3)
Code: