Published:2009/6/19 2:10:00 Author:May | From:SeekIC

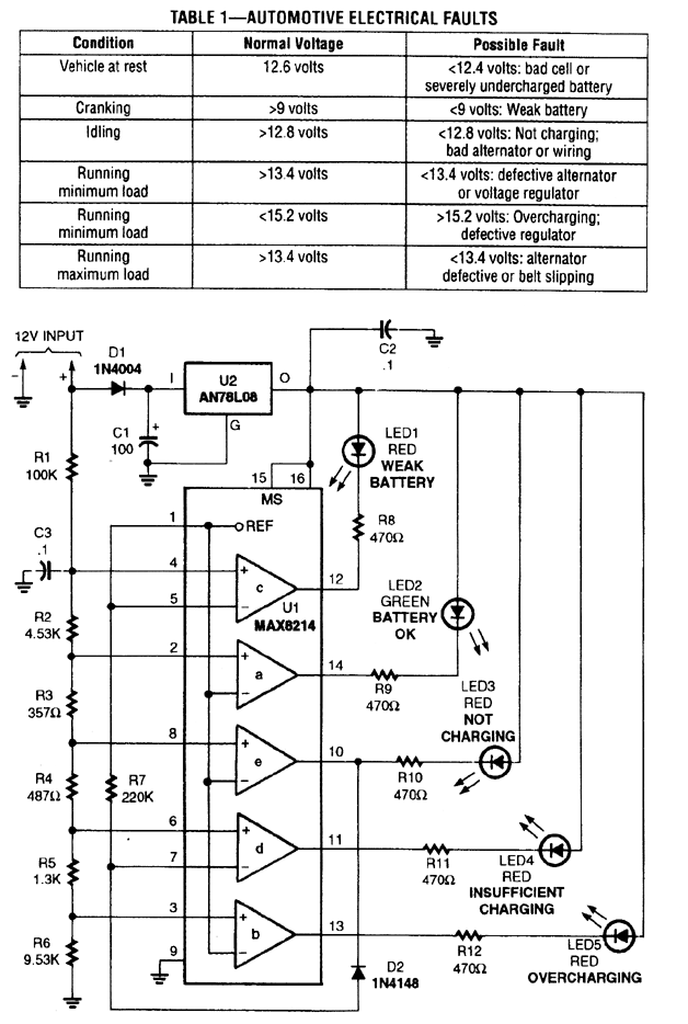
The automotive electrical diagnostic system is built around a Maxim MAX8214ACPE five-stage voltage comparator, which contains a built-in 1.25-volt precision reference, and on-board logic that allows the outputs of two of the comparators to be inverted.
Reprinted Url Of This Article:
http://www.seekic.com/circuit_diagram/Automotive_Circuit/AUTOMOTIVE_ELECTRICAL_MONITOR.html
Print this Page | Comments | Reading(3)
Code: