Published:2009/6/28 23:13:00 Author:May | From:SeekIC



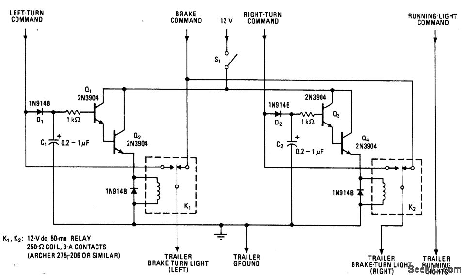
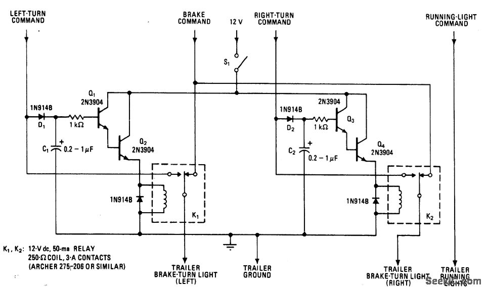
Low-cost transistors and two relays combine brake-light and tum-indicator signals on common bus to ensure that trailer lights respond to both commands. C1 and C2 charge to peak amplitude of tum signal, which flashes about 2 times per second. Values are selected to hold relay closed between flash intervals; if capacitance is too large, brake signal cannot immediately activate trailer lights after tum signal is canceled. Developed for new cars in which sep-arate turn and brake signals are required for safety.-M. E. Gilmore and C. W. Snipes, Dar-lington-Switched Relays Link Car and Trailer Signal Lights, Electronics, Aug. 18, 1971, p 116.
Reprinted Url Of This Article:
http://www.seekic.com/circuit_diagram/Automotive_Circuit/AUTO_TRAILER_INTERFACE_FOR_LIGHTS.html
Print this Page | Comments | Reading(3)
Code: