Published:2012/9/11 20:59:00 Author:Ecco | Keyword: Car Voltmeter | From:SeekIC

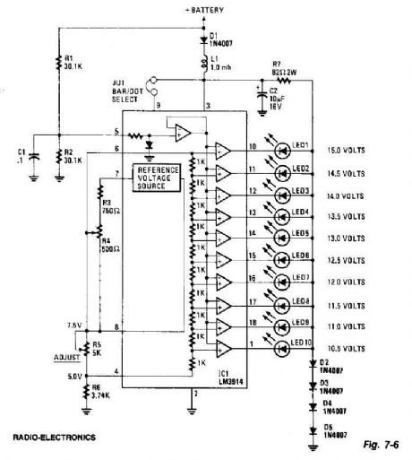
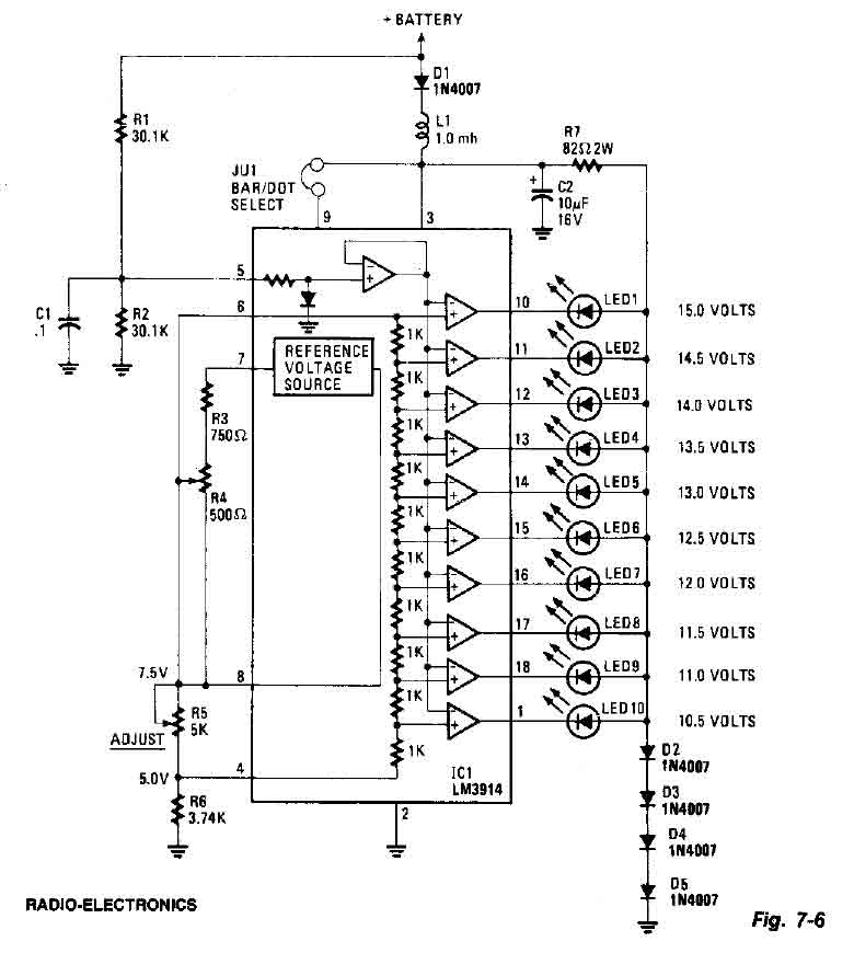
This screen uses ten LEDs to display a voltage range of 10.5 to 15 volts. Each LED represents a step 0.5wvolt tension. The heart of the circuit is the 3914 points LM / bar display driver. Trimming potentiometer R5 is adjusted so that 7.5 volts is applied to the upper side of the bulkhead. D2 resistor R7 and diode D5 to tighten the voltage applied to the LED 3 volts. A lowpass filter consisting of L1 and C2 guards against voltage spikes. The diode D1 is used to protect against reverse voltage where the voltmeter is connected backwards.
Reprinted Url Of This Article:
http://www.seekic.com/circuit_diagram/Automotive_Circuit/Car_Voltmeter_Circuit.html
Print this Page | Comments | Reading(3)
Code: