Published:2011/5/27 6:06:00 Author:Sue | Keyword: Common, Electrical, Motor, Controlled | From:SeekIC

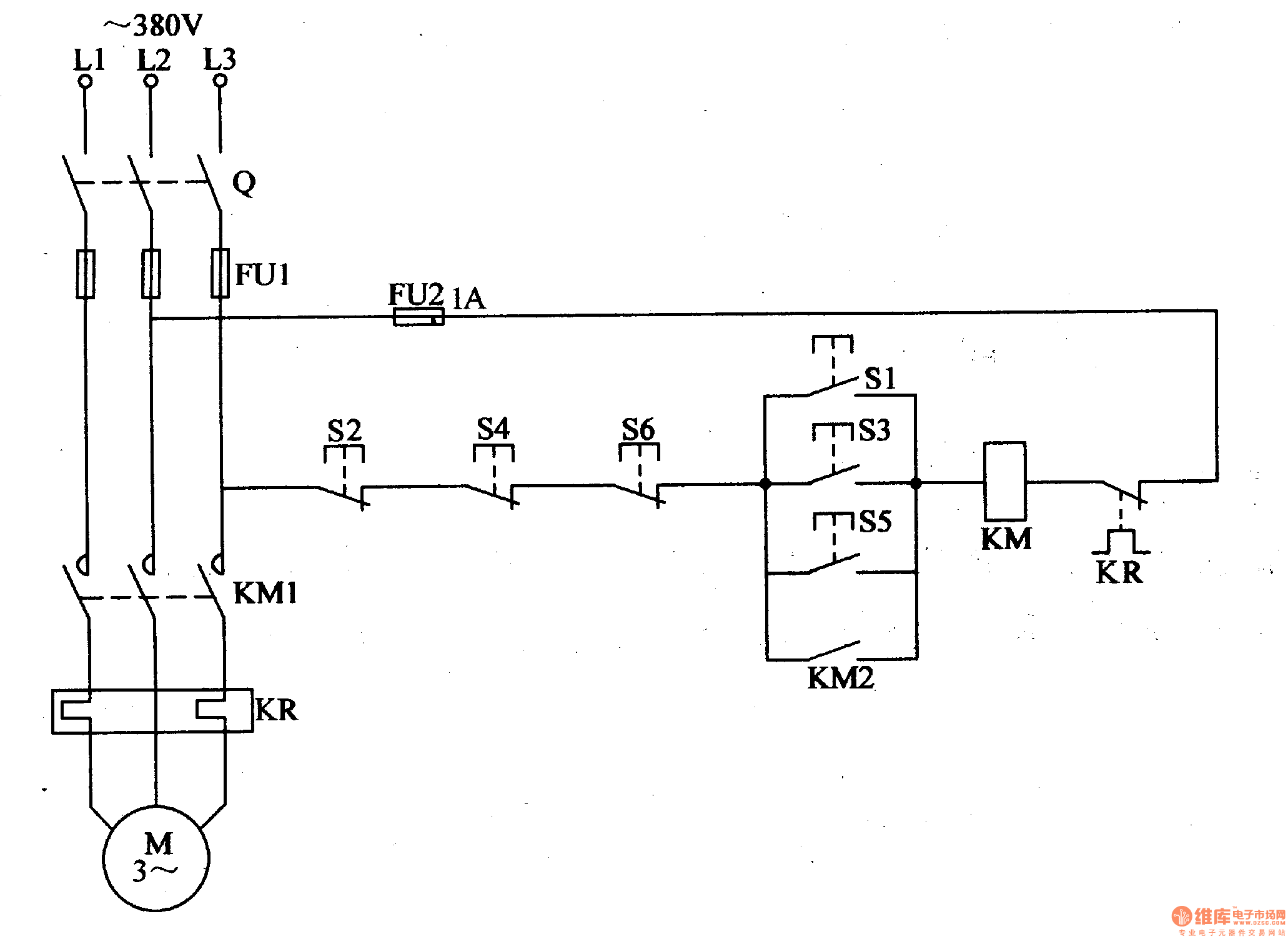
When the circuit is set up, S1 and s2, s3 and s4, s5 and s6 will be put in 3 controlling site. Push s1 in the first site, KM will be connected, M will start working. Push s2 then, KM is released and M stops working. As this principle, push s2 in the second site or push s5 in the third site, KM will be connected and M starts working. Push S4 or S6, KM will also be released and M stops working.
This makes the 3-site control of the motor.
Reprinted Url Of This Article:
http://www.seekic.com/circuit_diagram/Automotive_Circuit/Common_Electrical_Motor_Controlled_Circuit_5.html
Print this Page | Comments | Reading(3)
Code: