Published:2009/6/19 2:06:00 Author:May | From:SeekIC


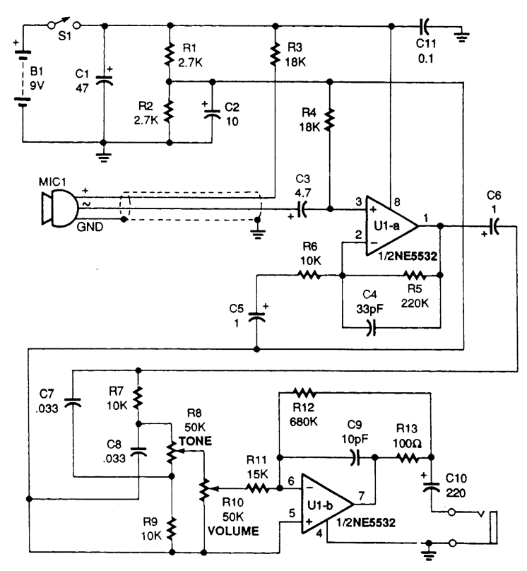
The heart of the Stethoscope is the NE5532 audio op amp, UI. That component directly drives low impedances and allows the use of headphones without adding another amplifier.
Reprinted Url Of This Article:
http://www.seekic.com/circuit_diagram/Automotive_Circuit/ELECTRONIC_AUTO_STETHOSCOPE.html
Print this Page | Comments | Reading(3)
Code: