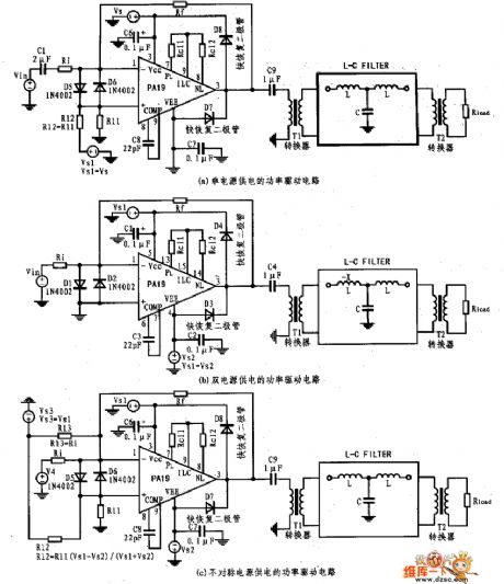
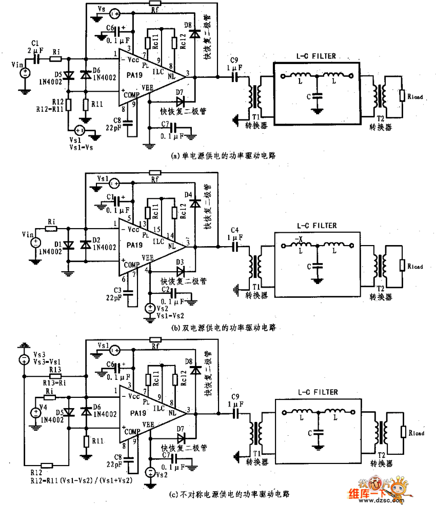
Published:2011/3/20 22:42:00 Author:Nicole | Keyword: Electric Power Carrier Equipment | From:SeekIC

Reprinted Url Of This Article:
http://www.seekic.com/circuit_diagram/Automotive_Circuit/Electric_Power_Carrier_Equipment_Drive_Circuit_Diagram.html
Print this Page | Comments | Reading(3)
Code: