Published:2011/5/20 5:27:00 Author:Sue | Keyword: Electronic, Bird, Repeller | From:SeekIC

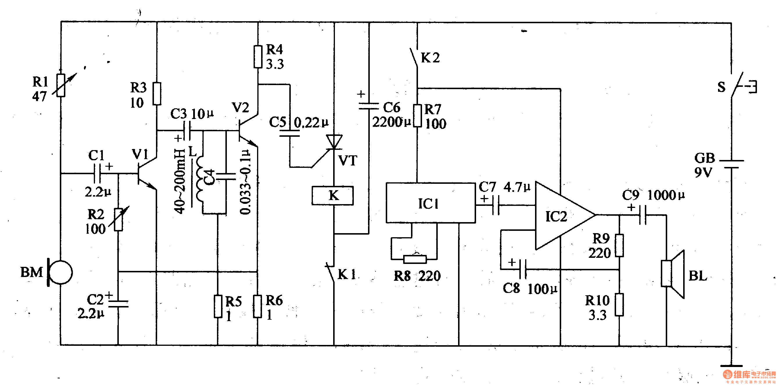
When S is on, the square form wave generator begins to work and outputs square form pulse signal with an adjustable duty ratio. When the pulse delays upgoing, VF1 is connected. The audio signals it generates will drive BL to make a DU sound. When the pulse delays downgoing, VF1 is disconnected and the multivibrator stops working. In this circumstances, the multivibrator and the audio driving circuit works intermittently under the control of the signals and power circuit.
Reprinted Url Of This Article:
http://www.seekic.com/circuit_diagram/Automotive_Circuit/Electronic_Bird_Repeller_4.html
Print this Page | Comments | Reading(3)
Code: