Published:2011/5/20 5:33:00 Author:Sue | Keyword: Electronic, Bird, Repeller | From:SeekIC

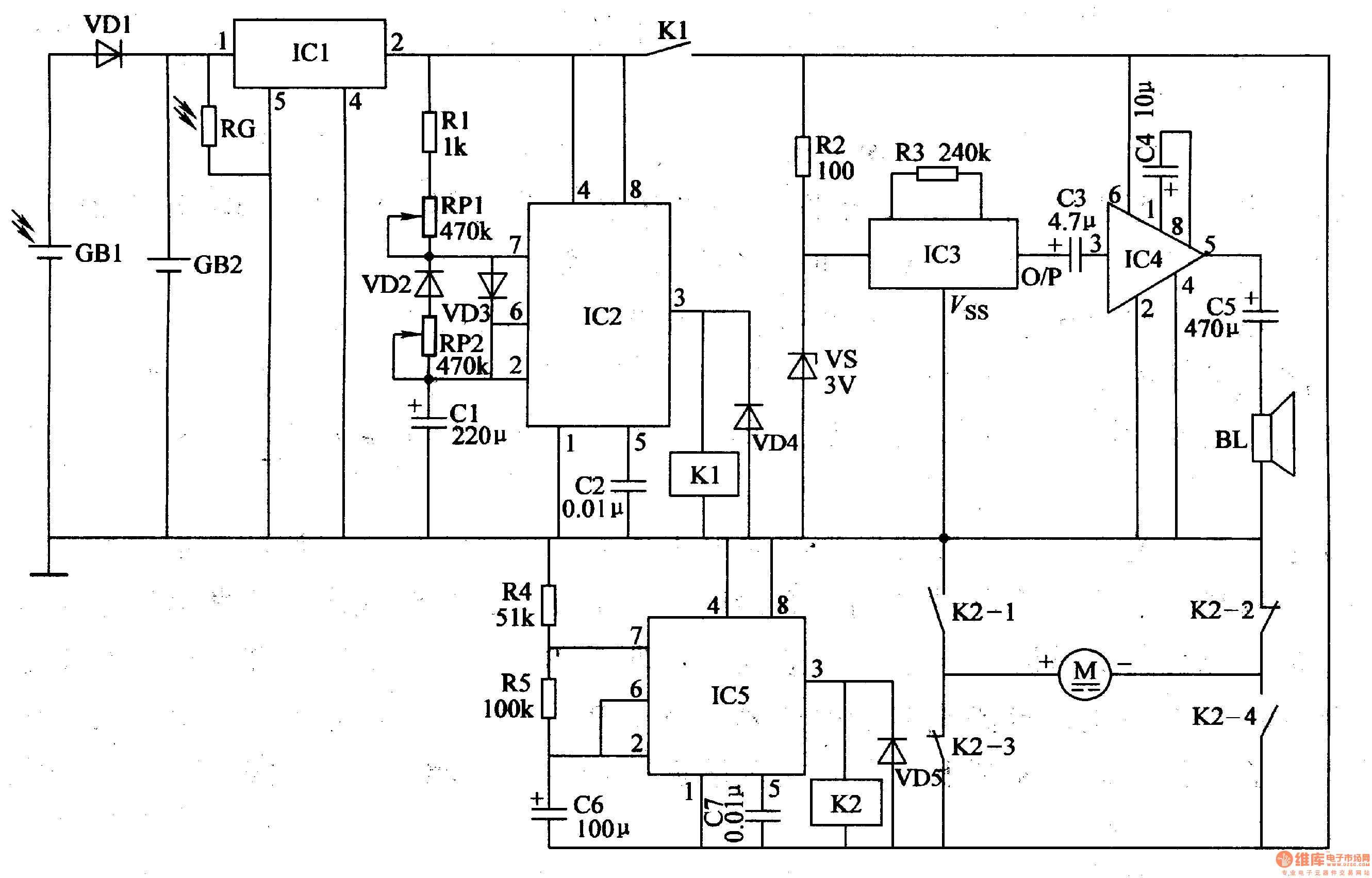
In the daytime, IC1's inside switch is on and A will oscillate, outputting low frequency oscillator signals. When IC2's 3 pin outputs high level, K1 is connected. IC2's 2 pin will output 6 V voltage which will provide driving circuit with working voltage. The other circuit will provide IC3 with 3V working voltage. When IC2's 3 pin outputs low level, IC3-IC5 stops working.
When IC3 begins to work, O/P outputs signals, and BL makes a sound of fire cracker.
In the evening, VD1 is disconnected and the circuit doesn't work.
Reprinted Url Of This Article:
http://www.seekic.com/circuit_diagram/Automotive_Circuit/Electronic_Bird_Repeller_5.html
Print this Page | Comments | Reading(3)
Code: