Published:2011/5/17 5:22:00 Author:Sue | Keyword: Electronic, Mouse Exterminator | From:SeekIC

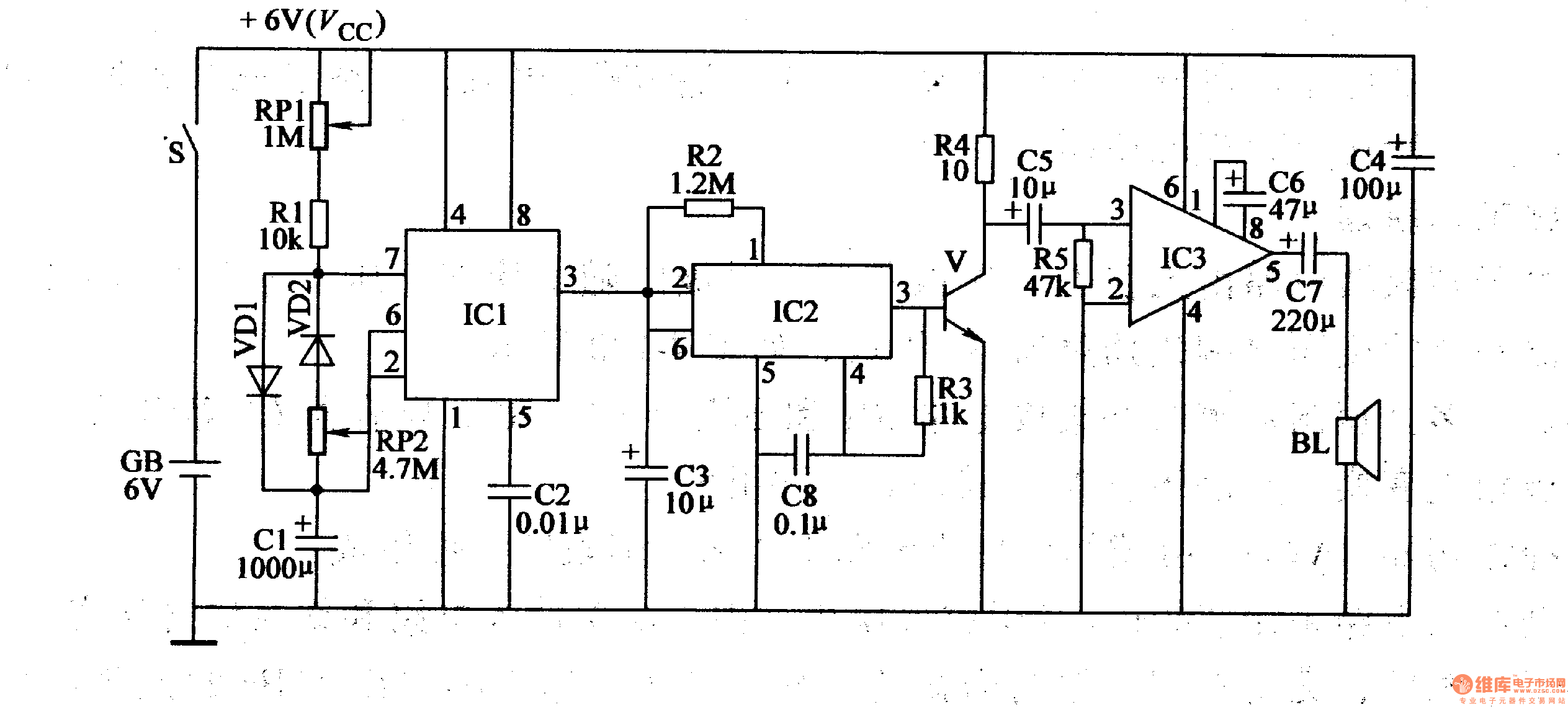
When S is connected, IC1’s 2 pin and 6 pin have low level, and its 3 pin outputs high level, making IC2 begin to output meow electronic signal, which can drive BL to make a loud “meow”. At the same time, C1’s voltage becomes higher and higher. When IC1’s 2 pin and 6 pin have a voltage higher than 2Vcc/3, IC1’s 3 pin’s high level turns into low level, and BL stops the sound.
Then C1’s voltage becomes lower and lower. When the voltage reduces to Vcc/3, IC1’s 3 pin has a high level, driving BL to make a “meow” sound.
Reprinted Url Of This Article:
http://www.seekic.com/circuit_diagram/Automotive_Circuit/Electronic_Mouse_Exterminator_2.html
Print this Page | Comments | Reading(3)
Code: