Published:2009/7/16 3:16:00 Author:Jessie | From:SeekIC

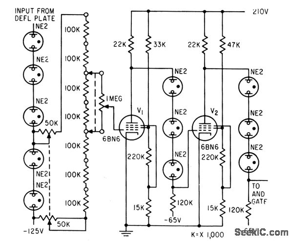
Accurately measures cylinder gas temperature as function of engine-cycle phase angle, by using amplitude discriminator to indicate ratio of two infrared radiation intensities emitted by gas at two known wavelengths. Discrimination is accomplished by amplifying 0.1% slice of radiation signal.-R. R. Bockemuehl, Gated Ratio Indicator Aids Engine Research, Electronics, 32:13, p 64-65.
Reprinted Url Of This Article:
http://www.seekic.com/circuit_diagram/Automotive_Circuit/GATED_AMPLITUDE_RATIO_INDICATOR.html
Print this Page | Comments | Reading(3)
Code: