Published:2011/3/20 22:52:00 Author:Nicole | Keyword: drive | From:SeekIC

Reprinted Url Of This Article:
http://www.seekic.com/circuit_diagram/Automotive_Circuit/L293D_drive_circuit_diagram.html
Print this Page | Comments | Reading(3)
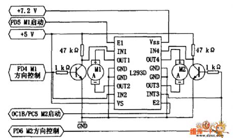
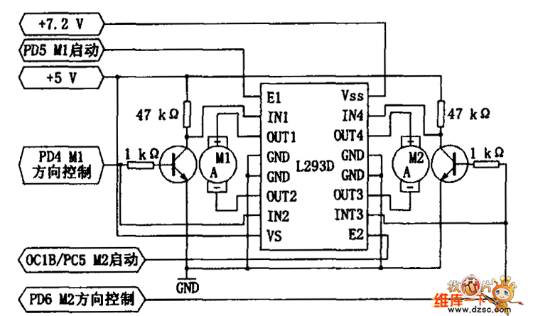
Code: