Published:2011/5/25 6:18:00 Author:Sue | Keyword: Multifunctional, Motor, Protector | From:SeekIC

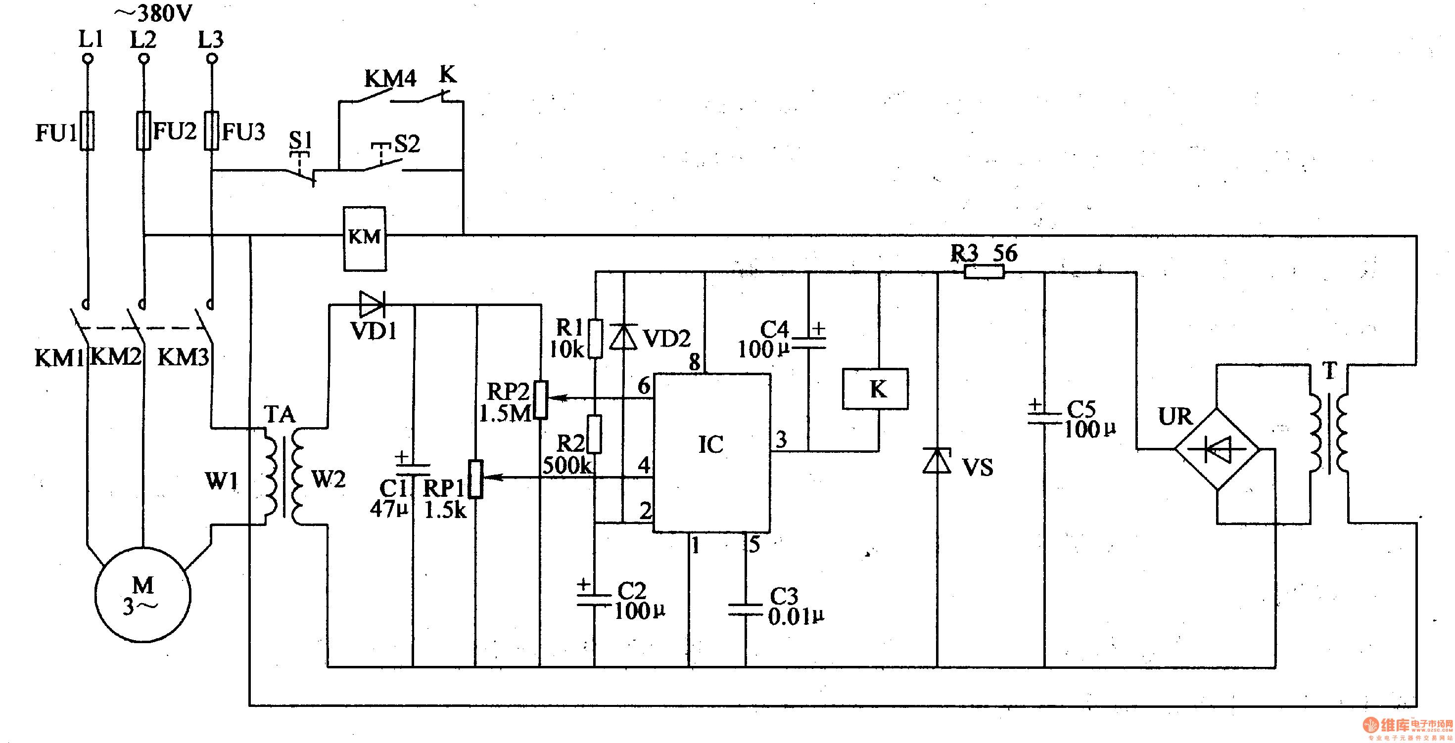
When the motor is working well, TA's induced voltage is low, IC's 6 pin's voltage is lower than 2Vcc/3, 3 pin outputs low level. K is not connected.
When L2 or L1 lacks phase, L3's phase current will be larger. TA's induced voltage will be lager. IC's 6 pin's voltage is higher than 2Vcc/3. 3 pin will have low level. KM is released and M stops working.
When the motor is overload, L1-L3 will have larger current. When the current reaches 1.2 times rated current, IC's 6 pin will have a voltage higher than 2Vcc/3. M will stop working.
Reprinted Url Of This Article:
http://www.seekic.com/circuit_diagram/Automotive_Circuit/Multifunctional_Motor_Protector_2.html
Print this Page | Comments | Reading(3)
Code: